SERVICE PHONE
13899998888发布时间:2025-10-01 15:43:44 点击量:
我校全面启用全国高校毕业生毕业去向登记系统进行网上签约、去向登记等工作。
为了同学们能更好地使用去向登记系统,请大家跟随小业导航,进行详细的了解~
通过手机端搜索登记系统网址,点击“毕业生去向登记”,使用学信网账号登录。
首次登录要核对本人基本信息是否正确。若信息无误,点击“信息确认无误,进入系统”;若信息有误,联系辅导员更正(手机号码、电子邮箱需由本人在学信网账号信息中修改)。
(2)“补充协议内容”栏允许三方(毕业生、用人单位、学校)另行约定各自的权利义务,毕业生可将户口、档案、违约条款、工资、休假、住房等福利待遇在补充协议内容栏中写清楚。同时需注意单位填写的补充协议条款是否侵害毕业生合法权益。
线上签约流程:用人单位通过登记系统向毕业生发起签约邀请,经毕业生同意、学校(院系)审核通过后,线上签约完成。
用人单位需先通过登记系统向毕业生发送签约邀请函,主界面会显示该签约邀请条目,点击可查看详细的单位及签约信息。
毕业生在应约有效期内(应约截止时间之前)对用人单位发起的签约邀请作出签约回应。
毕业生同意签约后,提交学校(院系)审核,可通过主界面查看学校(院系)审核进度及结果。
若学校(院系)审核通过,签约完成,毕业生可在线预览、下载电子就业协议书,若单位有特殊要求可前往就业指导中心盖章。
若学校(院系)审核不通过,签约失败,如仍需签约,则需根据签约失败原因与用人单位协商一致,由用人单位重新发起签约邀请,再次进行线上签约流程。
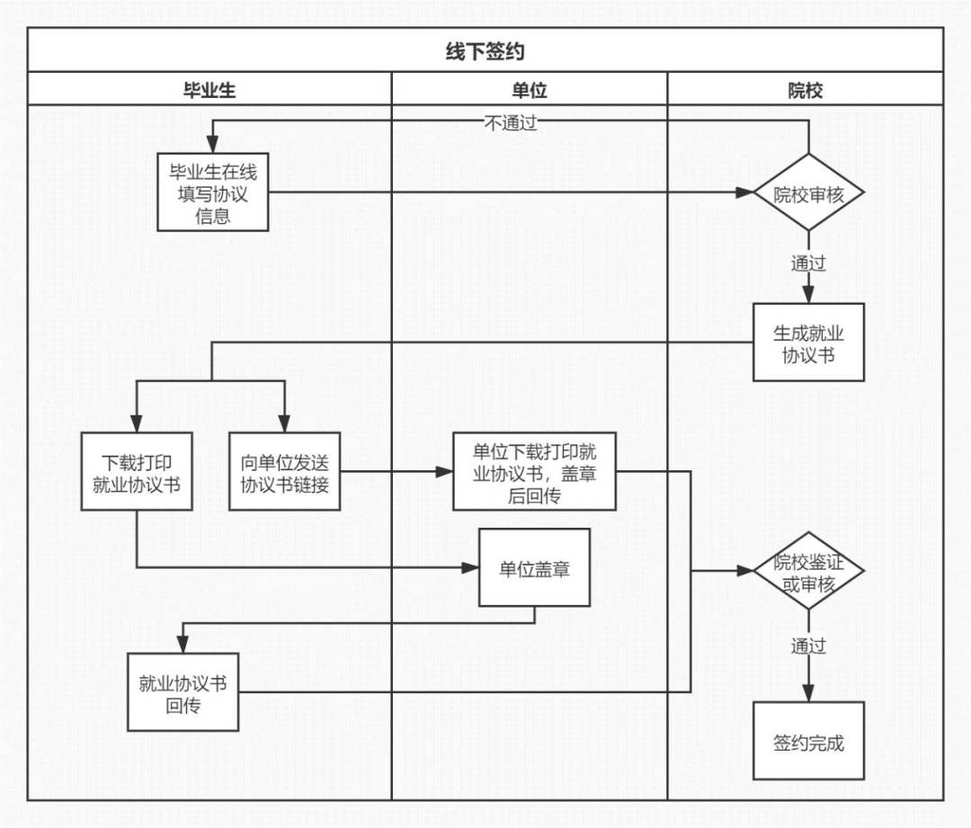
此功能适用于用人单位没有在登记系统注册,无法与用人单位线上签约的毕业生。
毕业生在主界面点击去向填报的“签就业协议书就业”,再点击“向学校申请电子就业协议书 线下登记”,按要求准确填写就业协议相关信息后,确认并提交学校(院系)审核。
若审核通过,毕业生主界面对应条目状态为“就业协议审核通过”,毕业生点击进入可下载电子就业协议书。
若审核不通过,毕业生需根据审核不通过原因重新填写就业协议信息后,再次提交审核。
学校(院系)协议审核通过后,毕业生点击“点击下载电子协议书”,下载打印电子就业协议书并联系用人单位盖章。盖章后毕业生点击“本人回传协议书”,及时回传单位盖章的电子就业协议书图像材料,提交学校(院系)审核。
若审核不通过,线下签约申请直接作废,毕业生需重新在线填写就业协议信息再次提交审核。
毕业生根据实际毕业去向,在主界面选择“其他形式就业”、“升学”或“未就业”,按照不同去向类型的具体要求,填写相关去向信息,上传证明材料。
(1)“其他形式就业”包括签劳动合同形式就业、提供公招接收函就业、其他录用形式就业、定向/委培毕业去向补充登记、自由职业、国家基层项目、地方基层项目、科研助理管理助理、应征义务兵、自主创业、部队招收军士或文职人员、医学规培生、国际组织任职、出国出境就业。
(3)“未就业”包括求职中、签约中、拟参加公招考试、拟创业、拟应征入伍、就业见习、不就业拟升学、暂不就业、拟出国出境。
若审核不通过,登记去向信息直接作废,毕业生需重新选择毕业去向类型,填写相关去向信息并上传证明材料再次提交。
微信扫一扫
